直播内容:
-
不容忽视的栅极驱动偏置隔离辅源
-
MPS多款隔离产品及应用
-
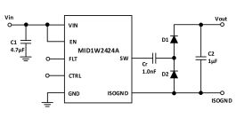
MID1W2424A 24V 1.5W,MIE1W0505 5V1W芯片级隔离电源模块
直播内容:
不容忽视的栅极驱动偏置隔离辅源
MPS多款隔离产品及应用
MID1W2424A 24V 1.5W,MIE1W0505 5V1W芯片级隔离电源模块
如有 相关需求/技术咨询/产品咨询 等可点击 MPS NOW 在线技术支持 , 工程师将为您直接提供项目技术支持服务
查看更多技术资源可访问:Resource Center

![]()
![]()
也可点击头像直接私信我们样品及项目需求哦~