面向工业类应用高效电源解决方案, MPS 推出超薄全集成 80V 电源模块
【2026年2月3日,中国上海】 近日,MPS芯源系统(NASDAQ代码:MPWR)宣布推出超薄、全集成同步降压电源模块——MPM3572。
该产品支持80V宽输入和±15V范围输出,具备超快瞬态响应与多种保护功能,并最大限度
地减少了外部元器件数量,可广泛应用于工业设备、通信设备、机器人应用与消费电子等领域。
随着工业自动化、物联网以及智能制造等行业蓬勃发展,对电源模块的需求逐步增长。特别是在机器人、智能传感器、工业控制系统以及电动工具等应用中,稳定且高效的电源解决方案变得至关重要。这些领域需要高功率密度的电源模块,以便在有限的空间内提供强大的性能,并应对各种严苛的工作环境。MPM3572具有卓越的性能,可实现600mA以上的输出电流 (IOUT),在 10V 至 80V 的宽输入电压 (VIN) 范围内保持出色的负载调整率和线性调整率,在上述应用场景中的不仅满足了高压需求,还保证了设备的安全性和稳定性。
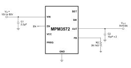
MPM3572 典型应用图
得益于集成功率MOSFET的低导通电阻RDS(ON)设计,相比于传统方案,MPM3572的导通损耗显著降低,而采用恒定开通时间(COT)控制方案则确保了电路的快速瞬态响应,提升了整体效率。该模块的默认工作频率为400kHz,工程师也可以通过外部电阻将频率灵活调节最高至1MHz,以适应不同应用场景。
此外,MPM3572具有全方位的保护机制,提供过流保护(OCP)、短路保护(SCP)、欠压保护(UVP)和过温保护(OTP)等多重保护功能,以确保设备可靠运行。
产品优势一:输入电压范围宽,灵活支持正负压输出
MPM3572 支持10V到80V的输入电压,可覆盖大部分常见应用的电压范围,例如工业与机器人的48V、24V多级降压应用需求。同时,该产品还可提供稳定的负压输出,从而满足信号处理器、控制器、传感器等供电需求。
产品优势二:高效集成,实现高功率密度下的极致性能
MPM3572布局简单,仅需最少的外部组件,通过单个电阻即可轻松设定输出电压。同时,超快速瞬态响应的自适应COT技术确保了在各种负载条件下的稳定性。在轻负载情况下,采用高效的PSM模式,可使得峰值效率高达88%,而满载效率亦可达到80%。
MPM3572 效率负载曲线图(VOUT = 5V,VIN = 24V / 48V / 60V)
产品优势三:超薄紧凑封装设计,应用市场广泛
采用6mm x 6mm x 2.0mm的LGA封装,MPM3572尺寸小巧紧凑,加上高性能与高效率的优势,可进一步满足多个行业的客户需求。
- 工业设备:可用作工业控制系统的电源模块,支持宽输入电压范围,适配各类应用;
- 通信设备:可用作信号处理器的供电模块,提供稳定的正负输出电压;
- 消费电子:可嵌入在移动设备、计算机配件等小型消费电子产品中,提供高效能的小型化解决方案;
- 机器人应用:适用于智能传感器和执行器辅助供电,满足其对小型化和高效率的需求。尤其在机器人关节供电中,对电压范围、体积和发热都有极高的要求,MPM3572可从各方面满足客户的需求。
MPM3572 封装参考图
MPM3572 购买与技术支持
如您对该产品感兴趣,MPS可为您提供MPM3572的产品数据手册、评估演示板等丰富技术资源支持。
如有 相关需求/技术咨询/产品咨询 等可点击 MPS NOW 在线技术支持 , 工程师将为您直接提供项目技术支持服务
查看更多技术资源可访问:Resource Center
